- 四川鑫森管业有限公司
- 地 址:成都市青白江工业集中发展区创新路333号
- 联系人:张女士
- 电 话:13568808699
- 电 话:028-83626798
- 邮 箱:xinsenguanye@163.com
- 邮 编:610300
您现在的位置:首页>新闻资讯 > 新闻资讯
MPP圆型双壁波纹管产品介绍
发布时间:2025-06-13 16:00:25| 文章热度1 | 作者 : 四川鑫森管业有限公司
MPP圆型双壁波纹管产品介绍
1. 产品简介
MPP双壁波纹管是以聚丙烯为主要原材料,采用复合增强改性特殊配方,内外壁复合加强结构壁料管道,既兼顾了实壁管的好处,同时具备了单壁波纹管的优势,强度高、耐温性能好、施工简便、耐高温、抗震、使用寿命长等一系列优点。
2.规范与标准
DL/T 802.1—2023 电力电缆用导管技术条件 第 1 部分:总则
DL/T802.4-2023 《电力电缆导管技术条件 第4部分 波纹类塑料电缆导管》
GB/T 19278—2018 热塑性塑料管材、管件及阀门 通用术语及其定义
3.产品结构
结构示意:如图:

4.技术要求
(1)原材料 生产导管的材料应加入必要的添加剂,并分散均匀。
(2)颜色 导管颜色应均匀一致,颜色由供需双方协商确定。
(3)外观 导管内外壁不应有裂纹、气泡、针眼、沙眼、裂口、分解变色线及明显杂质;单壁波纹导管内表面 应光滑,其他类型导管内表面应光滑平整,不应有明显的波纹;外壁波纹应规则、均匀,不应有凹陷; 导管两端应切割平整并与轴线垂直,导管内外壁应紧密熔合,不应出现脱开现象。切割面应在外波纹的波谷处。
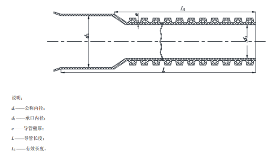
(4)尺寸
1)长度 导管长度 L 宜为 6 m 或 9 m ,其他长度由供需双方协商确定。导管长度 L 、有效长度 L1 ,示意图 见图 2 。导管长度不应有负偏差。
2) 弯曲度 导管弯曲度应不大于 1.0 %。
3) 尺寸偏差 导管尺寸偏差应符合 DL/T 802.1—2023 的要求。
5.连接方式
导管宜采用密封圈承插式连接,也可采用管件连接和哈呋外固方式连接,典型连接示意图见下图:

说明: A——承口端; B——插口端; C——弹性密封圈; E——连接管件;
e1——承口壁厚; F——哈呋管件; G——连体密封圈;L0——承口长度。
6.MPP(改性聚丙烯)双壁波纹管的优点
(1)耐热性能好,绝缘性能好,维卡软化温度可达到≥135℃以上。
(2)刚性好,因其特殊的波纹和内壁复合结构设计,高弹性模量的材料,使其具有高环刚度,根据特殊要求,环刚度可达到SN≥50以上.
(3)相对实壁管,具有一定的柔性,可适应不均匀沉降或施工地基的变化,适合地质多变的地方使用。
(4)双壁波纹管也可以采用热熔连接和专用卡箍连接,热熔连接为波峰对接焊接密封,专用卡箍连接为弹性密封,确保完全不渗漏,适合在地下水丰富的地方使用。
(5) 使用寿命长,因其主材为聚丙烯,通过改性,具有耐腐蚀、抗酸碱的优点,使用寿命可长达五十年。
(6)环保,主材为聚丙烯,主要由碳和氢两种元素组成,卫生环保,对地下水无污染,管材废品可以二次回收利用,生产和回收过程中均不存在白色污染。
7.产品参考图


