- 四川鑫森管业有限公司
- 地 址:成都市青白江工业集中发展区创新路333号
- 联系人:张女士
- 电 话:13568808699
- 电 话:028-83626798
- 邮 箱:xinsenguanye@163.com
- 邮 编:610300
您现在的位置:首页>产品展示 > 精品推荐 > 精品推荐
CMBWP 增强电缆保护管
发布时间:2024-08-07 16:05:01| 文章热度3 | 作者 : 四川鑫森管业有限公司
CMBWP 增强电缆保护管
1.产品介绍:
CMBWP增强电缆保护管,采用改性聚丙烯树脂作为基体材料,添加其他聚烯烃树脂及稳定剂、添加剂。生产工艺采用塑料挤出连续纤维编织缠绕一体成型工艺,通过挤出机将改性聚丙烯挤出在模芯上,形成内、外表面层的改性聚丙烯层,在内、外改性聚丙烯树脂层之间加入的连续纤维增强复合层,大幅度提高了管材各种性能。
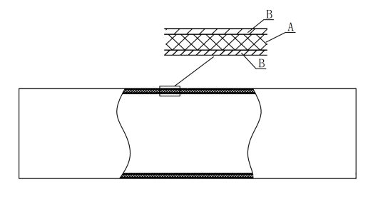
管材结构图:

CMBWPP增强电缆保护管纤维编织增强层的结构
说明:A-连续纤维编织增强复合层; B-内、外表面改性聚烯烃层
2、尺寸规格(mm)
公称内径 dn | 公称壁厚 e | 公称长度 L | ||
SN15 | SN20 | SN30 | ||
100 | 5.0 | 6.0 | 7.0 | 6000或9000 |
150 | 6.0 | 7.0 | 9.0 | |
175 | 7.0 | 8.5 | 11.0 | |
200 | 8.0 | 9.0 | 12.0 | |
250 | 10.0 | 13.0 | 15.0 | |
3、技术性能要求:
序 号 | 试验项目 | 单位 | CMBWP | |
1 | 密度 | g/cm3 | 1.15~1.45 | |
2 | 环向拉伸强度 | MPa | ≥50 | |
3 | 纵向拉伸强度 | MPa | ≥25 | |
4 | 接头焊接拉伸强度 | MPa | ≥25 | |
5 | 环刚度(常温) | kPa | 符合表4-2要求 | |
6 | 弯曲负载热变形温度 | B法:0.45MPa | ℃ | ≥100 |
7 | 落锤冲击 | —— | 按表4-3规定条件,不应有明显示分层、裂痕或断裂 | |
8 | 碱金属氧化物含量 | % | ≤0.8 | |
9 | 热阻系数 | m.K/W | ≤4.5 | |
10 | 静摩擦系数 | —— | ≤0.35 | |
4、 环刚度等级(kPa)
表4-2
等级 | SN15 | SN20 | SN30 |
环刚度 | ≥15 | ≥20 | ≥30 |
5、 落锤冲击试验


